1
/
6
関連商品
| 商品名 | 商品コード |
|---|---|
|
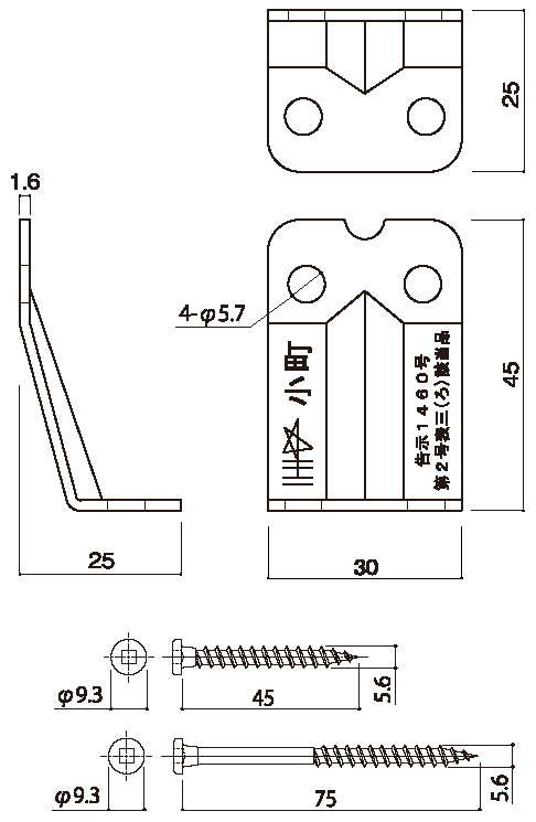
DH ベビーコーナー 小町
▽… |
36147 |

