1
/
5
関連商品
| 商品名 | 商品コード |
|---|---|
|
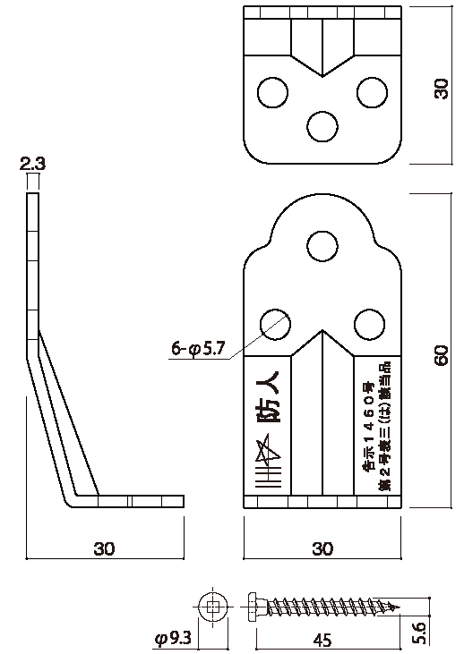
DH タイトコーナー 防人
▽…<床合板仕様> |
36155 |

